公司新闻

新闻中心

东方甄选申请多个咖啡商标

作者:中食展小编   来源:www.slalfood.com 时间:2022-10-11 10:08:26  阅读量:309

 

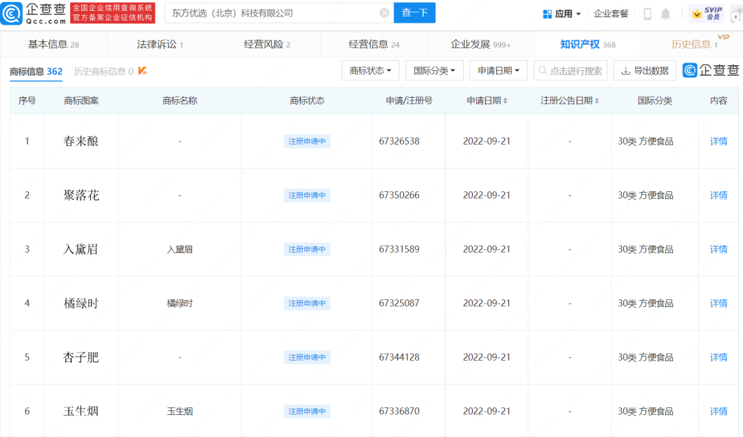
9月28日消息,日前,东方优选(北京)科技有限公司申请注册“春来酿”“花媚笑”“芳草深”“入黛眉”“玉生烟”“金盘果”“橘绿时”等商标,国际分类均为方便食品。当前商标状态均为注册申请中。


东方甄选申请多个咖啡商标

中食快评:据悉,东方甄选此前推出自营咖啡,“春来酿”“花媚笑”等为不同产地咖啡的名称。